| ÉêÇëºÅ | CN201911398239.8 | ÉêÇëÈÕ | 2019-12-30 |
| ¹ûÕæ£¨Í¨¸æ£©ºÅ | CN111167927A | ¹ûÕæ£¨Í¨¸æ£©ÈÕ | 2020-05-19 |
| ÉêÇëÐû²¼ºÅ | CN111167927A | ÉêÇëÐû²¼ÈÕ | 2020-05-19 |
| ·ÖÀàºÅ | B21D28/26;B21D28/34;B21D28/04;B21D55/00;F16F15/04 | ·ÖÀà | »ù±¾ÉÏÎÞÇÐÏ÷µÄ½ðÊô»úе¼Ó¹¤£»£»£»£»£»£»£»£»½ðÊô³åѹ |
| ·¢Ã÷ÈË | Íõ¸¶»ª;Ä϶¡Ìì;Âí¿ªÐÂ;½ðºé¸ù | ÉêÇ루רÀûȨ£©ÈË | 2121·Ç·² |
| ´úÀí»ú¹¹ | ÄϾ©ÖÚÁª×¨Àû´úÀíÓÐÏÞ¹«Ë¾ 32206 | ´úÀíÈË | ¾°Åô·É |
| µØÖ· | 224000 ½ËÕÊ¡Ñζ¼»áÑζ¼ÇøÐÂÇøÐËÃñ¾Óί»áËÄ×é2´±(B) | ||
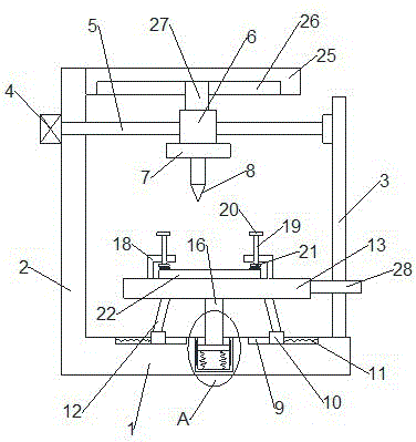
| ÕªÒª | ±¾·¢Ã÷ÌṩһÖÖµçÈÈÎå½ð¼Ó¹¤ÓõĴò¿××°Ö㬣¬£¬£¬£¬£¬£¬£¬°üÀ¨µ××ù£¬£¬£¬£¬£¬£¬£¬£¬ËùÊöµ××ùÒ»²àÉèÓÐÖ§Öù£¬£¬£¬£¬£¬£¬£¬£¬ÁíÒ»²àÉèÓÐÌ×Öù£¬£¬£¬£¬£¬£¬£¬£¬Ö§ÖùÉÏÒ»²àÉèÓÐÇý¶¯µç»ú£¬£¬£¬£¬£¬£¬£¬£¬Çý¶¯µç»úÊä³öÖáÅþÁ¬ÓÐË¿¸Ë£¬£¬£¬£¬£¬£¬£¬£¬Ë¿¸Ëͨ¹ýÖá³Ð×ùÓëÌ×Öùת¶¯ÅþÁ¬£¬£¬£¬£¬£¬£¬£¬£¬Ë¿¸ËÉÏÂÝÎÆÅþÁ¬ÓÐË¿¿é£¬£¬£¬£¬£¬£¬£¬£¬Ë¿¿éµ×²¿ÉèÓÐÆø¸×¡£¡£¡£¡£¡£¡£¡£¡£±¾·¢Ã÷±¾·¢Ã÷³å¿×ʱ£¬£¬£¬£¬£¬£¬£¬£¬Í¨¹ý»º³åб¸Ë·¢¶¯»¬¿éÔÚ»¬¶¯²ÛÄÚÒÆ¶¯£¬£¬£¬£¬£¬£¬£¬£¬Ò»»º³åµ¯»ÉѹËõ£¬£¬£¬£¬£¬£¬£¬£¬Í¬Ê±»¬ÖùÏòÏÂÒÆ¶¯£¬£¬£¬£¬£¬£¬£¬£¬¼·Ñ¹»¬¿é£¬£¬£¬£¬£¬£¬£¬£¬¶þ»º³åµ¯»ÉѹËõ£¬£¬£¬£¬£¬£¬£¬£¬½ø¶ø³å¿×ʱ¿É¿´´ý¼Ó¹¤¼þ¾ÙÐлº³å£¬£¬£¬£¬£¬£¬£¬£¬Æðµ½±£»£»£»£»£»£»£»£»¤´ý¼Ó¹¤¼þ£¬£¬£¬£¬£¬£¬£¬£¬Í¬Ê±³å¿×Í·Ò²ÏìÓ¦µÄÊܵ½»º³åÁ¦£¬£¬£¬£¬£¬£¬£¬£¬½øÒ»²½µÄÊܵ½±£»£»£»£»£»£»£»£»¤£¬£¬£¬£¬£¬£¬£¬£¬Ìá¸ßÁ˳å¿×Í·µÄÊÙÃü¡£¡£¡£¡£¡£¡£¡£¡£ | ||


ÁªÏµÈË£ºÖì˾Àí
µç»°£º151-0510-7100
ÓÊÏ䣺282049266@qq.com
¹¤³§£º½ËÕÊ¡Ñζ¼»áÑζ¼ÇøÑÎä½ֵÀÑÎä·888ºÅÎïÁª´óÏÃÎ÷ÃÅ



