2121·Ç·²

ͨÓÃbanner
ÄúÄ¿½ñµÄλÖà £º Ê× Ò³ > ÐÂÎÅÖÐÐÄ > ÊÖÒÕ×ÊѶ

ÁªÏµ2121·Ç·²Contact Us

½­ËÕ2121·Ç·²ÊÕÖ§¿Ú¹É·ÝÓÐÏÞ¹«Ë¾

 ÁªÏµÈË£ºÖì˾Àí

 µç    »°£º15962095555

 ÓÊ    Ï䣺zhu15962095555@dingtalk.com

 Íø    Ö·£ºwww.xt518.com

 µØ    Ö·£º½­ËÕÊ¡Ñζ¼»áÑζ¼ÇøÑÎä½ֵÀÑÎä·888ºÅÎïÁª´óÏÃÎ÷ÃÅ

2121·Ç·²¡¤(Öйú¼¯ÍÅ)ÌåÓý¹Ù·½ÍøÕ¾

2121·Ç·²×¨Àû-CN210694390U_Ò»ÖÖ¹Ü×´½á¹¹µÄµçÈÈÔª¼þ

2021-01-06
´Î

רÀû»ù±¾ÐÅÏ¢

ÉêÇëºÅ2019216371832ÉêÇëÈÕ2019-09-29
¹ûÕæ£¨Í¨¸æ£©ºÅCN210694390U¹ûÕæ£¨Í¨¸æ£©ÈÕ2020-06-05
ÉêÇëÐû²¼ºÅCN210694390UÉêÇëÐû²¼ÈÕ2020-06-05
·ÖÀàºÅH05B3/02(2006.01)I;·ÖÀàÆäËûÀàÄ¿²»°üÀ¨µÄµçÊÖÒÕ
·¢Ã÷ÈËÍõ¸¶»ª;Íõ¶¦;Íõ°®»ª;Ä϶¡ÌìÉêÇ루רÀûȨ£©ÈË
2121·Ç·²
´úÀí»ú¹¹
±±¾©¾ý²´ÖªÊ¶²úȨ´úÀíÓÐÏÞ¹«Ë¾´úÀíÈË
Íõ³ÌÔ¶
µØÖ·224000½­ËÕÊ¡Ñζ¼»áÑζ¼ÇøÑÎä·886ºÅ2121·Ç·²¼¯ÍÅ
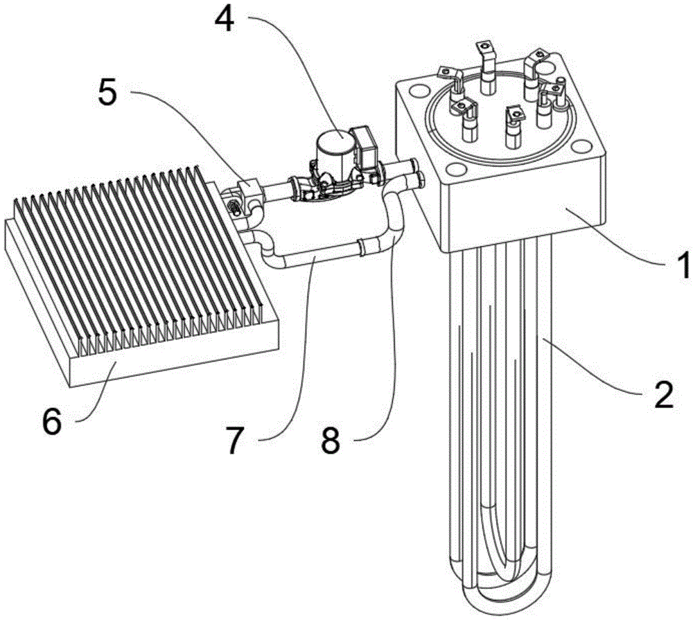
ÕªÒª±¾ÊÊÓÃÐÂÐÍÌṩһÖÖ¹Ü×´½á¹¹µÄµçÈÈÔª¼þ£¬£¬£¬£¬£¬£¬£¬£¬°üÀ¨×°Åä¼ÓÈÈÆ÷×ù£»£»£»£»£»£»£»£»ËùÊö×°Åä¼ÓÈÈÆ÷×ùÖÐÐÄͨ¹ýº¸½ÓÀο¿ÉèÖÃÓÐÈý×éµçÈÈË¿£»£»£»£»£»£»£»£»ËùÊö¼ÓÈÈÆ÷×ùÒ»²àͨ¹ýÂÝÎÆÌÖÂÛÀο¿ÉèÖÃÓÐÓ²»¯¹ÜºÍ³öË®¹Ü£»£»£»£»£»£»£»£»¼ÓÈÈÆ÷×ùºÍÉ¢ÈÈÆ¬ÄÚ¾ùÉèÖÃÓÐͨˮ½á¹¹£¬£¬£¬£¬£¬£¬£¬£¬¿ÉÒÔΪµçÈÈË¿¾ÙÐÐÉ¢ÈÈ£¬£¬£¬£¬£¬£¬£¬£¬½µµÍ¼ÓÈÈÆ÷ÖÜΧÓë¼ÓÈÈÉèÊ©½Ó´¥µãµÄζȣ¬£¬£¬£¬£¬£¬£¬£¬±ÜÃâÆä±äÐλòÈÚ»¯£¬£¬£¬£¬£¬£¬£¬£¬¿ÉÒÔ½µµÍ¶Ô×°±¸ÅþÁ¬´¦µÄζÈÒªÇ󣬣¬£¬£¬£¬£¬£¬£¬²¢¸ôÀëÈÈ¶ÈÆðµ½±£»£»£»£»£»£»£»£»¤ÉèÊ©µÄ¹¦Ð§£¬£¬£¬£¬£¬£¬£¬£¬Í¬Ê±É¢ÈÈÆ¬¿ÉÒÔÅäºÏÑÓÉìÉ¢ÈÈ×°ÖÃÔöÌíÀäÈ´ÒºµÄÉ¢Èȳ¤¶È£¬£¬£¬£¬£¬£¬£¬£¬ÔöÌíÉ¢ÈÈЧÂÊ£¬£¬£¬£¬£¬£¬£¬£¬ÇÒÑÓÉìÉ¢ÈÈ×°ÖÃÀû±ã²ðжװÖ㬣¬£¬£¬£¬£¬£¬£¬¿ÉÒÔÆ¾Ö¤×°ÖÃλÖõļнǾÙÐÐÔöÌí»òïÔÌ­£¬£¬£¬£¬£¬£¬£¬£¬²¢ÇÒµ÷λװÖõÄÉèÖ㬣¬£¬£¬£¬£¬£¬£¬¿ÉÒÔÀû±ã¶ÔÉ¢ÈÈÆ¬¾ÙÐнǶȵ÷½â£¬£¬£¬£¬£¬£¬£¬£¬ÒԱ㽫ɢÈÈÆ¬ÉèÖÃÓÚ͸·çÓÅÒìµÄλÖø¨Öú½µÎ¡£ ¡£¡£¡£¡£¡£¡£¡£

666.png

±êÇ©

±¾ÎÄÍøÖ·£º/news/496.html

½üÆÚä¯ÀÀ£º

ÁªÏµÈË£ºÖì˾Àí

µç   »°£º15962095555

ÓÊ   Ï䣺zhu15962095555@dingtalk.com

µØ   Ö·£º½­ËÕÊ¡Ñζ¼»áÑζ¼ÇøÑÎä½ֵÀÑÎä·888ºÅ

             ÎïÁª´óÏÃÎ÷ÃÅ

¼ÓÈÈÆ÷³§¼Ò

¼ÓÈÈÆ÷³§¼Ò

¹ÜµÀ¼ÓÈÈÆ÷

¹ÜµÀ¼ÓÈÈÆ÷


Ëõ¶Ì
  • QQ¿Í·þ 2336502083

·ÖÏíµ½

ÍøÕ¾µØÍ¼