| 申请号 | 2019216432802 | 申请日 | 2019-09-29 |
| 果真(通告)号 | CN210688414U | 果真(通告)日 | 2020-06-05 |
| 申请宣布号 | CN210688414U | 申请宣布日 | 2020-06-05 |
| 分类号 | F24D13/00(2006.01)I;F24D19/00(2006.01)I | 分类 | 供热;;;;;;炉灶;;;;;;透风 |
| 发明人 | 王付华;王鼎;王爱华;南丁天 | 申请(专利权)人 | 2121非凡 |
| 代理机构 | 北京君泊知识产权代理有限公司 | 代理人 | 王程远 |
| 地址 | 224000江苏省盐都会盐都区盐渎路886号2121非凡集团 | ||
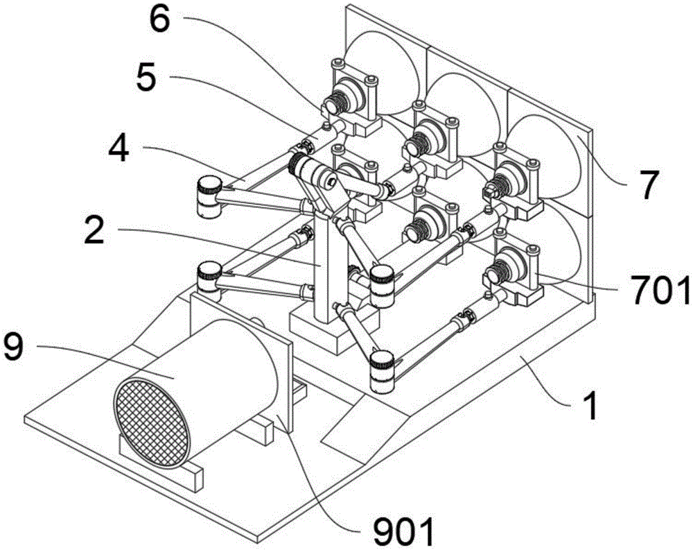
| 摘要 | 本适用新型提供一种组合式的可控制取暖和器,,,,,,,,涉及加热取暖和手艺领域,,,,,,,,包括底座;;;;;;所述底座顶部中心一体式设置有中心柱,,,,,,,,且中心柱前侧底部通过转轴运动设置有调理板;;;;;;所述底座顶部通过螺栓牢靠设置有电扇套;;;;;;所述底座顶部通过螺栓牢靠设置有接线排;;;;;;万向支架和取暖和器架的设置,,,,,,,,为取暖和器提供了无邪利便的拼接功效的角度调解功效,,,,,,,,可以使用万向支架将取暖和器对应差别位置,,,,,,,,一个房间的多个偏向举行供热,,,,,,,,以便对多人举行使用,,,,,,,,相比摆头的方法越发稳固,,,,,,,,且托付了旋转的限制,,,,,,,,增添了使用偏向。。。。。。 | ||


联系人:朱司理
电话:151-0510-7100
邮箱:282049266@qq.com
工厂:江苏省盐都会盐都区盐渎街道盐渎路888号物联大厦西门



