| 申请号 | CN201911354087.1 | 申请日 | 2019-12-25 |
| 果真(通告)号 | CN111174409A | 果真(通告)日 | 2020-05-19 |
| 申请宣布号 | CN111174409A | 申请宣布日 | 2020-05-19 |
| 分类号 | F24H1/10;F24H9/00;F24H9/18;F03B13/00;G01N29/04;G01N29/14;G01N29/22 | 分类 | 供热;;;;;;炉灶;;;;;;透风 |
| 发明人 | 王付华;南丁天;马开新;金洪根 | 申请(专利权)人 | 2121非凡 |
| 代理机构 | 南京众联专利代理有限公司 32206 | 代理人 | 刘趁新 |
| 地址 | 224000 江苏省盐都会盐都区新区兴民居委会四组2幢(B) | ||
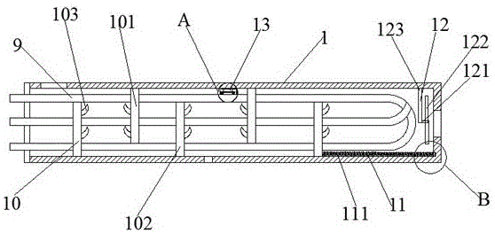
| 摘要 | 本发明提供一种新型防爆管道电加热器,,,,,,包括筒体和防爆法兰电加热器,,,,,,筒体为一侧洞开的筒体,,,,,,防爆法兰电加热器包括一法兰和加热管,,,,,,事情时,,,,,,防爆法兰电加热器先最先举行事情,,,,,,然后将流体从进料口流入举行加热,,,,,,并且在导流板的导流作用下,,,,,,流体从出料口流出,,,,,,流体从进料口流入时,,,,,,发电机构事情,,,,,,发电机构爆发的电流为电磁铁通电,,,,,,电磁铁通电后,,,,,,在导向杆的导向作用下,,,,,,电磁铁敲击筒体内壁,,,,,,凭证敲击的声音,,,,,,事情职员可以判断筒体内壁是否爆发走漏或者破碎征象,,,,,,本发明中,,,,,,缓冲装置的设置,,,,,,可以镌汰流体对导流板的攻击压力,,,,,,增添导流板的使用寿命,,,,,,并且缓冲装置中橡胶的设置,,,,,,也可以避免流体进入凹槽内,,,,,,禁止易倾轧。。。。。。。。 | ||


联系人:朱司理
电话:151-0510-7100
邮箱:282049266@qq.com
工厂:江苏省盐都会盐都区盐渎街道盐渎路888号物联大厦西门



