| 申请号 | CN201911355277.5 | 申请日 | 2019-12-25 |
| 果真(通告)号 | CN111156694A | 果真(通告)日 | 2020-05-15 |
| 申请宣布号 | CN111156694A | 申请宣布日 | 2020-05-15 |
| 分类号 | F24H3/04;F24H9/00;F24H9/18;F24D13/02;F24D19/00;D06F57/12 | 分类 | 供热;;;;;;;;炉灶;;;;;;;;透风 |
| 发明人 | 王付华;南丁天;马开新;金洪根 | 申请(专利权)人 | 2121非凡 |
| 代理机构 | 南京众联专利代理有限公司 | 代理人 | 刘趁新 |
| 地址 | 224000 江苏省盐都会盐都区新区兴民居委会四组2幢(B) | ||
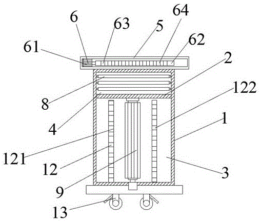
| 摘要 | 本发明提供一种多功效家用暖风机,,,,,,该多功效家用暖风机包括暖风机本体,,,,,,暖风机本体底侧设有带刹车轮,,,,,,暖风机本体内部设有隔板,,,,,,隔板横向设置,,,,,,对一定的空间内举行取暖和时,,,,,,PTC发热片事情,,,,,,然后贯流风机举行事情,,,,,,空气从进风口进入,,,,,,经由加热的空气从出风口倾轧,,,,,,一直的对空间内的空气举行加热,,,,,,从而可以抵达取暖和的效果,,,,,,若是只是局部取暖和或者对湿润的衣服举行烘干或者取暖和时,,,,,,翅片电加热管事情举行加热,,,,,,凭证衣服的巨细选择一支持杆和二支持杆,,,,,,来实现对衣服的烘干,,,,,,电机转动,,,,,,避免衣服局部受热,,,,,,本发明中,,,,,,PTC发热片位于贯流风机周围,,,,,,有利于对流入和流出贯流风机的气体举行加热,,,,,,PTC发热片上设有通孔,,,,,,利便气体流入和流出。。。。。。。 | ||


联系人:朱司理
电 话:15962095555
邮 箱:zhu15962095555@dingtalk.com
地 址:江苏省盐都会盐都区盐渎街道盐渎路888号
物联大厦西门



