| 申请号 | CN201911398233.0 | 申请日 | 2019-12-30 |
| 果真(通告)号 | CN111156692A | 果真(通告)日 | 2020-05-15 |
| 申请宣布号 | CN111156692A | 申请宣布日 | 2020-05-15 |
| 分类号 | F24H1/20;F24H9/18;B01D29/01;B01D29/56 | 分类 | 供热;;;;;炉灶;;;;;透风 |
| 发明人 | 王付华;南丁天;马开新;金洪根 | 申请(专利权)人 | 2121非凡 |
| 代理机构 | 南京众联专利代理有限公司 | 代理人 | 景鹏飞 |
| 地址 | 224000 江苏省盐都会盐都区新区兴民居委会四组2幢(B) | ||
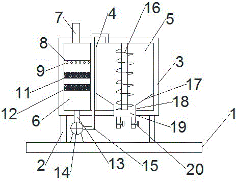
| 摘要 | 本发明提供一种家用型电热水箱,,,,,,,包括底板,,,,,,,所述底板上通过支架对称设有热水箱,,,,,,,热水箱通过隔板将热水箱隔成蓄水腔和净化腔,,,,,,,净化腔顶部于热水箱上设有自来水接受,,,,,,,净化腔内部设有过水板,,,,,,,过水板上部设有出水孔,,,,,,,出水孔与均洒机构连通,,,,,,,过水板下方设有一过滤网,,,,,,,一过滤网下方设有二过滤网。。。。。。本发明通过弧形水罩的洒水孔将水喷洒出,,,,,,,喷洒出的水能够提高与一过滤网的接触效果,,,,,,,从而提高水的净化,,,,,,,然后再被二过滤网进一步的净化,,,,,,,从而进一步的提高了水质净化效果,,,,,,,再在蓄水腔内被电加热棒电加热后能够被正常饮用。。。。。。 | ||


联系人:朱司理
电 话:15962095555
邮 箱:zhu15962095555@dingtalk.com
地 址:江苏省盐都会盐都区盐渎街道盐渎路888号
物联大厦西门



